Chaflanes
La soldadura abarca un amplio campo del conocimiento, y la simbología relacionada es muy importante para que ésta se realice correctamente. De otra forma, nos podemos encontrar tan perdidos como Paco, nuestro simpático extraterrestre. Paco no comprende todavía la simbología utilizada en aquel planeta, por lo que no sabe qué camino elegir.

Para hablar de simbología es imprescindible comenzar hablando de los chaflanes. Los chaflanes son los rebajes, o biseles realizados en las piezas a unir. Tienen el objetivo de posibilitar una penetración suficiente, ya que de otra forma la soldadura sería superficial.
Vamos a verlos qué tipo de chaflanes podemos encontrar a continuación:

Flechas de soldadura
Una vez que hemos visto qué tipo de chaflanes podemos encontrar, es importante que vayamos un poco más lejos, por lo que es necesario exponer dónde podemos encontrar "colocados" los símbolos anteriores, u otros diferentes que veremos más adelante.
Las flechas de soldadura nos indican donde se realizará la soldadura, qué tipo de método se debe utilizar (SMAW, TIG, MIG, etc), cómo se prepara la unión, el tipo de acabado, etc.
Lo mejor es que lo veamos con una imagen:

Este tipo de símbolo sigue la normativa europea, por lo que si nos encontramos en EEUU o Sudamérica, son ligeramente diferentes, lo explicamos a continuación:
- SIMBOLOGÍA AMERICANA: No tiene línea discontinua. El símbolo que se encuentre encima de la línea de referencia da la información sobre aquello que debe realizarse al otro lado de la flecha, y de manera análoga, los símbolos situados por debajo de la línea de referencia indican aquello que debe realizarse en el lado de la flecha.
- SIMBOLOGÍA EUROPEA: Sí tiene línea discontinua (que se sitúa preferentemente debajo de la línea de referencia). En la simbología europea es indiferente que un símbolo se encuentre encima o debajo de una línea, lo que aporta la información es en qué línea está situado: si se encuentra situado en la línea continua indica el lado de la flecha, si se encuentra en la línea discontinua indica el otro lado de la flecha. Además, en la simbología europea tenemos una excepción: si hay la misma información tanto para el lado de la flecha como para el opuesto, se prescinde de la línea discontinua. Si nos encontramos un símbolo de estas características, además de eso, no sabremos si se trata de la norma americana o la europea. ¿Verdad?

Si no estás demasiado familiarizado con esto del lado de la flecha y el otro lado de la flecha, te propongo que te fijes en la siguiente imagen:

Además, las flechas pueden llevar símbolos suplementarios que nos indican que la soldadura debe realizarse alrededor de la pieza. Por ejemplo en la soldadura de una tubería a una brida:

Otro símbolo muy habitual es el que nos indica que una determinada soldadura debe realizarse en obra. Habitualmente se realizan soldaduras en taller y después puede que haya que ensamblar aquello que se ha soldado en taller en su destino final:

A su vez, la cola se suele utilizar para indicar el método de soldadura, sus consumibles y otras indicaciones adicionales:

También podemos encontrar información sobre cómo debe quedar la soldadura: plana, cóncava o convexa:

¿Qué os parece si vemos un ejemplo para asentar conocimientos? La siguiente imagen de la flecha nos indica que se realizará una soldadura idéntica, con chaflanes en V a ambos lados de la pieza.

Estoy seguro de que esto se ve bastante más claro ya, así que vamos a ver algunos ejemplos más a continuación:

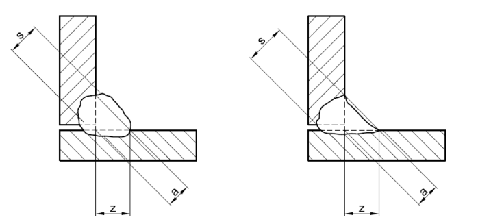
A su vez, podemos encontrar información sobre la longitud de la soldadura: la garganta real (S), la garganta teórica (a) y la longitud de la base o la altura (z):

Finalmente podríamos encontrar un símbolo como el siguiente:

El símbolo completo de la imagen nos indica que la soldadura se debe realizar en el lado de la flecha, según la norma ISO4063-11, se debe realizar en obra, además debe soldarse todo el contorno con 3 soldaduras de 80mm de longitud y espacios de 100mm, con una longitud (base y altura del triángulo) de 4mm, que se trata de una soldadura en ángulo interior, y el acabado será cóncavo.
Pero aún podemos encontrarnos más cosas, como por ejemplo las diferentes posiciones de soldadura. Vamos a verlo.
Posiciones de soldadura
La posición de la soldadura influye en el proceso, ya que hay que adecuar la técnica, la intensidad y en ocasiones los consumibles. Es por ello, que es importante que se indique dónde se realizará la soldadura. Vamos a ver a continuación la norma americana y la europea:

Vamos a aclarar un poco cómo funcionan las posiciones de soldadura:
- Americana: Van en orden numérico. La F significa que se trata de una soldadura en ángulo, la G indica que se trata de una soldadura que no está en ángulo: se suele decir "a tope". No distingue entre soldadura vertical ascendente o descendente.
- Europea: Lleva siempre la P, sí distingue entre soldadura vertical ascendente y descendente, va en orden de arriba abajo: PA, PB, PC...
¿Qué os parece si ampliamos un poco las posiciones de soldadura? Bien, vamos a ver el resto de posiciones indicadas con unos dibujos con los que creo que se va a ver bastante claro:

Como hemos visto, la simbología de soldadura asociada a las flechas y las posiciones es muy interesante ya que nos aporta mucha información. Estoy seguro de que una vez llegados a este punto no tendremos problemas para enfrentarnos a esos planos que nos traen de cabeza. Incluso Paco, el extraterrestre se encontrará ahora mucho más seguro, y quizás no sea capaz de volver a casa, pero estoy seguro de que no le hará falta porque al menos podrá comprender la simbología de soldadura, y muy seguramente encontrará un trabajo en el sector.
Como siempre digo, si te ha gustado este post, te agradecería que lo compartieras, comentaras o le dieras al botón de "me gusta", pero ante todo, recuerda tener Felices soldaduras.
24/06/24